Anodo Ogiva in Zinco per Eliche Reggiani – Innesto Cilindrico
Estimated Shipping Widget will be displayed here!
Serve Aiuto? Scrivici come possiamo aiutarti
Impossibile caricare la disponibilità per il ritiro
Proteggi la tua linea d'asse dalla corrosione galvanica con l'Anodo a Ogiva specifico per sistemi Reggiani. Questo anodo sacrificale è realizzato in Zinco puro, garantendo la massima efficacia per la navigazione in acqua di mare.
La caratteristica distintiva di questo modello è l'innesto cilindrico posteriore, progettato per adattarsi perfettamente alla sede del dado elica originale Reggiani. La sua forma idrodinamica riduce la resistenza all'avanzamento, mentre la massa in zinco preserva l'elica e l'asse dall'azione aggressiva delle correnti galvaniche.
Caratteristiche Tecniche
- Materiale: Zinco (Specifico per acqua salata).
- Tipo di fissaggio: A vite centrale con innesto cilindrico.
- Compatibilità: Assi portaelica e dadi elica tipo Reggiani.
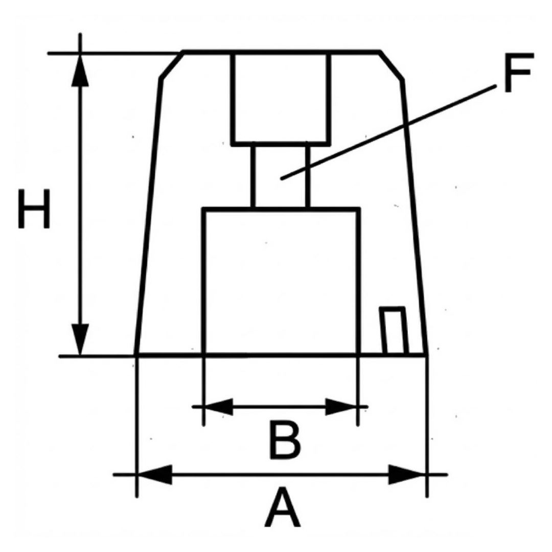
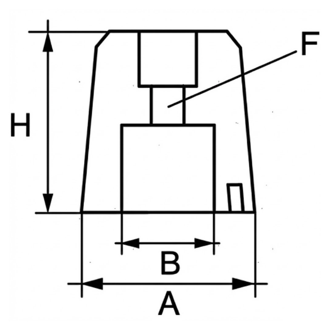
Tabella Dimensionale e Misure
Verifica le dimensioni riportate nella tabella per selezionare l'anodo corretto in base al diametro del tuo asse e alle misure dell'innesto (quota B).
| Per Asse Ø | Codice | Ø Esterno (A) | Ø Innesto (B) | Altezza (H) | Ø Foro Vite (F) |
|---|---|---|---|---|---|
| 25 mm | 5160225 | 34 mm | 20 mm | 42 mm | 7 mm |
| 30 mm | 5160230 | 43 mm | 25 mm | 50 mm | 10 mm |
| 35 mm | 5160235 | 48 mm | 28 mm | 55 mm | 10 mm |
| 40 mm | 5160240 | 54 mm | 34 mm | 54 mm | 10 mm |
| 45 mm | 5160245 | 64 mm | 40 mm | 64 mm | 11 mm |
| 50 mm | 5160250 | 74 mm | 45 mm | 74 mm | 11 mm |
| 55 mm | 5160255 | 78 mm | 49 mm | 75 mm | 11 mm |
| 60 mm | 5160260 | 88 mm | 55 mm | 85 mm | 11 mm |
I nostri Clienti dicono di noi
Ottima ferramenta nautica, ci riforniamo da loro da più di 6 anni sempre con estrema soddisfazione sia per i prezzi concorrenziali che per l’attenzione dedicata al cliente.Rarissimo non trovare un articolo, li consiglio fortemente!
La mia ferramenta di fiducia! Venditori competenti e sempre disponibili!
Supporto cordiale ed efficiente, è molto fornito, ci si trova di tutto un po', dalla nautica al bricolage, e soprattutto i prezzi sono molto onesti.Lo consiglio!
Top assistenza per GPS Garmin! Tra i migliori sicuramente! Consigliato.
Negozio ben fornito, ottimi i prezzi sulla maggior parte degli articoli. Cortesia e qualità contraddistinguono da sempre i ragazzi che offrono supporto sui prodotti. Grandi!
